线切割中走丝机床加工操作指南之高铁车厢中的行李架装饰件
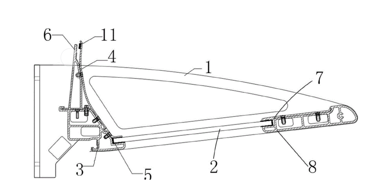
高铁。求要车厢中的行李架装饰件(见图1)不仅承担着重要的美学功能,提升车厢整体环境质感与乘客体验,还能对内部结构起到一定的遮蔽与保护作用。其应用需兼顾轻量化、阻燃性与牢固性。当前痛点主要在于:如何在严苛的振动环境下确保长期不松动脱落,并平衡耐用性、低成本与模块化设计需求,同时满足易清洁维护的运营要求。

图1 行李件饰装架架装饰件
目前高铁(见图2)车厢中的行李架装饰件最常用的是注塑成型。其优势在于能高效量产复杂一体构件,成本低且重量轻,一致性高。弊端则是初始模具投资巨大,且对小批量生产不经济;部件结构强度和耐疲劳性相对较弱,在长期振动环境下易出现脆性开裂或变形风险。

图2 高铁
中走丝线切割特别适合小批量或打样阶段。它无需高昂模具投入,能灵活加工高精度、高强度的金属或特殊材质装饰件,尤其能满足对结构强度与耐振动性要求严苛的部件,有效规避了注塑件易脆裂的风险,是实现复杂金属装饰件高质量制造的理想选择。
中走丝线切割加工技术是一种介于快走丝和慢走丝之间的电火花线切割工艺,采用镀锌黄铜丝(直径0.1-0.2mm)作为电极,通过高频脉冲放电腐蚀金属实现切割。其走丝速度(6-12m/s)高于慢走丝但低于快走丝,兼具一定加工精度(±0.003mm)和较高效率。该技术支持多次切割,首刀高速粗加工,后续精修以提高表面质量(Ra≤0.7-1.4μm),适用于模具钢、硬质合金等难加工材料。优势在于性价比高,维护成本低于慢走丝;缺点是电极丝损耗较大,长期使用后精度会下降,且对工作液清洁度要求较高,适合中小批量精密零件加工。
不同于传统装饰件常用的ABS工程塑料,高铁车厢行李架装饰件常选用强度与耐久性更优的304不锈钢。本文所设计的装饰件试样材料与高铁内部结构件材料一致,均为304不锈钢(见图3)。该材料为奥氏体不锈钢,具有出色的耐腐蚀性、高强度和优良的加工性能,适用于制造长期处于振动环境下的承重装饰部件。尽管不锈钢在装饰件上的应用因成本较高而受限,但中走丝线切割工艺属于精密加工,对材料适应性强,尤其适合小批量、高精度且要求结构可靠的高铁内饰件的制造。

图3 304不锈钢化学成分图
本文以高铁车厢行李架装饰件为研究对象,通过对行业标准、加工设备、加工流程、参数设置、三坐标检测和粗糙度检测进行测试。本研究验证了中走丝工艺加工高精度行李架装饰件的可行性,为高铁车厢行李架装饰件提供了新的技术路线。
行业标准
国际标准
ISO 9466:2025 铁路应用 客运轨道车辆的涂层
国家标准
TB/T 3139-2021 机车车辆非金属材料及室内空气有害物质限量
TB/T 3237 动车组用内装材料阻燃技术条件
TB/T 3286-2011 铁道客车行李架和衣帽钩
加工设备
1. 设备选择(见图4)
智凯ZKH550五轴数控线切割机床

图4 智凯ZKH550
2. 设备参数
行程:有效加工行程550*450
锥度:±6°
最大加工效率:≥300mm²/H
表面光洁度:Ra0.8μm(多次切割)
精度:±0.003mm
系统:系统支持Windows7及以上操作系统
画图:支持多种画图文件导入
精度高:四轴螺距补偿,五轴数控
3. 功能介绍
1)五轴数字控制,四轴联动;X/Y/U/V轴采用交流伺服电机驱
动,并经过激光干涉仪校正补偿,提高运行精度及位移速度。
2)高效低损的绿色电源控制设计,大幅提高切割效率,减少电
极丝损耗。
3)X/Y轴拖板采用三层运行结构设计,配合进口精密直线导轨
和滚珠丝杠,确保工作时始终保持在台面内运动,保证切割精度及使
用寿命。
4)手持单元控制五轴电机驱动,功能强大,方便快速移位及模
具校正。
5)采用上下双紧丝机构,使电极丝张力在切割过程中始终保持
一致,大幅减少断丝现象。
6)多功能工件夹具,实现多方位模具装夹。
加工流程
1. 将基板表面测试干净
2. 专用夹具固定股基本
3. 图形导入
4. 软件点“开水”检查是否正常
5. 点“加工”一键开始运丝、高频、冲水
6. 开始加工中
参数设置
试加工:
1. 试加工材料

图5 加工材料
2. 导入图纸

图6 图纸
3. 设置参数

图7 参数
4. 开机检查后
5. 开始加工

图8 加工
6. 工件切割完成掉落
样品,成功:如下图
成品OK,无灼烧、发黑变色等问题

图9 成品
三坐标检测
为验证中走丝线切割加工的高铁车厢中的行李架装饰件不仅承担着重要的美学功能,提升高铁车厢整体环境质感轮廓与形位公差,采用三坐标测量机进行高精度检测。选用热稳定性优异的陶瓷基标准样块作为基准,通过接触式测头对行李架试样进行三维轮廓扫描,测量点间距设置为0.1mm,采样速度控制在2mm/s。检测系统温度补偿精度达±1μm,重复定位精度≤3μm,可准确评估行李架圆柱度、同轴度及外径尺寸偏差,确保整体加工精度控制在±5μm以内,满足高端高铁车厢对动态平衡与低噪音的严苛要求。

图10 三坐标示意图
粗糙度检测
对高铁车厢中的行李架试样进行表面粗糙度检测,通过与标准
粗糙度样块进行对比,确定高铁车厢中的行李架加工表面的粗糙度
等级。检测结果表明,高铁车厢中的行李架试样加工表面粗糙度为
Ra0.7-Ra1.4,满足Ra ≥0.7 的要求。
若您希望进一步探索,行李架装饰件的轻量化与高强度替代方案(如复合材料与金属混合结构、异形承托部件优化);中走丝线切割在复杂装饰件(如弧形连接片、多孔位安装板)上的精密加工工艺;不锈钢/铝合金装饰件的抗振防变形设计与环境耐久性测试(高低温循环、恒定湿热测试);线切割设备选型指南(针对装饰件曲面切割、批量加工的精度与效率匹配);实操关键(日常维护要点、振动环境下安装参数设定);行业案例(复兴号智能动车组内饰装饰件精密制造与质量控制实例)等。欢迎关注【智凯数控】或私信咨询!我们提供从高铁内饰件到车载硬件的全流程技术方案,助您实现安全可靠、美观耐用的轨道交通级内饰系统升级!
